热门搜索
消息中心
无消息通知
全部已读


硝烟已起,各大品牌谁在抢跑?

图片来源: unsplash
“每天都要涂防晒到底是资本洗脑还是现实所需?”
“防晒有必要天天涂吗?”
“每天出门都涂防晒霜会有什么危害吗?”
这类常处于社媒讨论的热门问题,其侧面也可知当前多数消费者对于防晒这一品类的核心痛点。
不过,据小红书ai总结的真实经验中显示,86%的用户表示出于防老抗衰、抑制色斑等原因,需要天天涂防晒。
这也意味着,在潜移默化中,消费者对于防晒的认知从“季节性护肤”向“全年刚需”转变。而这背后就是对肤感、成分的要求,这场围绕防晒相关的角逐,不是简单的技术成分竞争,而是升级至营销运营、合规发展等多维度的比拼。

图片来源:小红书
另外,从今年的3·8大促表现也能窥见一二,防晒品类在销量、销售额及产品创新层面均表现强劲,市场端呈现已从单一防晒功能转向复合型护肤需求。
据Mordor Intelligence相关数据显示,2025年全球防晒市场规模达193亿美元(人民币约1341.6亿元),以9.51%的增速发展,预计2030年达到306亿美元(人民币约2127.1亿元)。其中,亚太市场成为增长最快的区域,这也意味着,在一众品类普遍增速放缓的情况下,防晒这一细分赛道仍然存在潜力。

图片来源:Mordor Intelligence
户外运动品牌入局
近几年来,随着消费者运动意识的觉醒,带火了户外运动,从而催生了户外场景中对护肤的特殊需求,这让专注于户外运动品牌也嗅到商机。
其中代表性的骆驼、蕉下等在内的品牌,均在五年前借助防晒这一细分品类切入美妆市场,而其底层逻辑是:凭借户外基因,以及先前多年来积累的用户心智为其背书。
虽然这些户外运动品牌在防晒的场景洞察、技术迁移方面存在天然优势,但是同样也面临着品类延伸受限的困境。

如骆驼于2023年成立美妆事业部,两年后,推出美妆子品牌“骆驼户外美妆”,该品牌聚焦抗光老修护领域,主打户外美妆细分赛道。截至2025年,其美妆线已推出80个SKU,涵盖防晒、功效护肤等多个品类。
在产品布局的同时,骆驼同步调整营销策略,强化防晒品类的市场曝光与用户认知。2025年底,骆驼官宣张予曦担任其护肤品牌大使,借助明星的影响力扩大防晒及全品类美妆产品的受众覆盖面,完成从户外服饰领域向美妆领域的跨界转型。
而上述的一系列举措,也充分体现了户外品牌对防晒这一品类的重视与布局的决心。
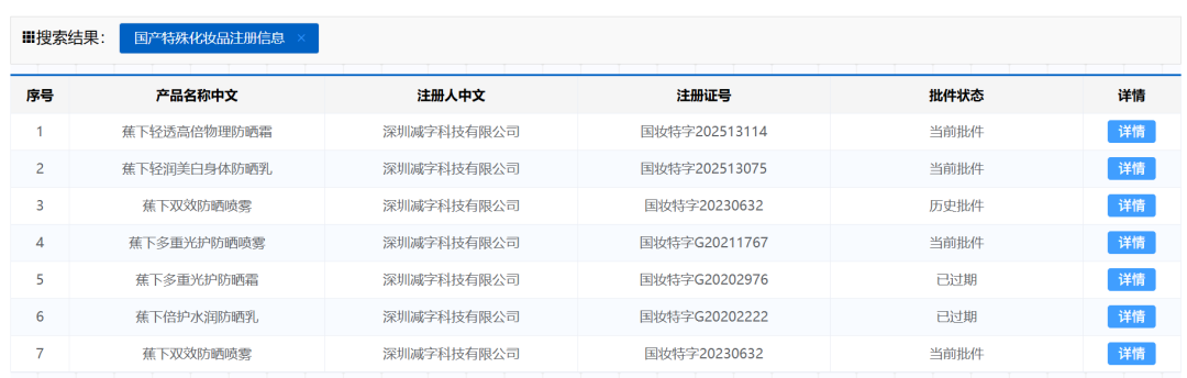
无独有偶,蕉下早在2020年也围绕防晒赛道布局美妆,2021年以防晒喷雾为切入点,并在天猫官方旗舰店上推出相关产品。据国家药监局显示,蕉下母公司深圳减字科技有限公司,已注册7类产品,其中4个产品为最新的有效批件,2025年新注册了蕉下轻透高倍物理防晒霜、蕉下轻润美白身体防晒乳两种产品。

图片来源:国家药监局
可以看到,上述这类户外运动品牌,确立了以 “户外运动场景” 为核心卖点,主打功能型产品,聚焦防晒、晒后修护等运动刚需,避开与传统美妆间的“妆效竞争”。
不过其在定价策略上,与欧莱雅、安耐晒等头部大牌形成错位竞争,具备高性价比,以百元左右的价格面向大众市场,价格相对亲民,深受户外运动爱好者青睐。

然而,尽管开局顺利,但上文所提到的户外运动品牌也存在品类延伸受限的难题。除防晒赛道上小有声量外,其余品类尝试有限或尚未十分出彩。如骆驼的身体乳、面霜等表现平平,淘宝销量仅为1-2万左右,蕉下的淘宝官方店铺也仅上架了防晒喷雾的产品链接。
其实,这一问题并非户外品牌独有,实则是所有以防晒为核心品类的品牌普遍面临的增长瓶颈。某头部防晒品牌相关负责人曾对聚美丽表示“由于防晒这个品做到顶了,导致很难开新品,用户一提到我们的品牌,就只能想到防晒这一产品。”
换言之,当防晒产品过于深入消费者心智,就会导致品牌后续的产品线难以开展。不过,市场风向的转变为破局提供了可能。2025年以来,Tone Up风潮(通过护肤或彩妆产品提升肌肤紧致度和自然光泽感的流行趋势)的盛行,模糊了防晒、妆前、修饰的界限,带动了兼具防护与提亮的多效合一产品走红。
加之消费者日常防晒需求的扩大,目前多数粉底液、隔离霜等底妆类产品,选择在其中融入相关的防晒技术进行创新,这或许也是未来一众深耕防晒赛道的品牌拓展产品线、打破固化认知的新路径。
新产品数量井喷
尽管新玩家不断涌入,美妆企业目前仍主导着防晒市场,占据大部分份额。然而,随着入局者众,也给其带来了十足的危机感,亟需靠各类新技术、新产品来吸引消费者的注意力和增加用户间的黏性。
据美丽修行2025年发布的《专业防晒护理白皮书》显示,2024年中国防晒市场线上总销售额达124亿元,同比增长7.27%,且在2023-2024年间,防晒产品备案数量同比激增60%。
除了备案产品激增外,各品牌在防晒赛道的竞争还体现在技术升级、持续推新这两方面。
随着消费者专业认知不断提升,头部美妆品牌纷纷加码技术研发,通过核心技术突破抢占市场高地,其本质上是为了提升自身在防晒领域的技术话语权,在细分需求人群中建立专业口碑,实现从“产品竞争”向“技术竞争”的升级。
如欧莱雅在进博会期间,中国首发的“野王防晒”产品中,搭载了新升级的自愈膜防晒技术,旨在通过独家技术优势,强化其在高端防晒市场的技术主导地位。
MISTINE蜜丝婷则另辟蹊径,借助顶尖科研团队的背书,提升自身技术公信力。其与诺奖科学家团队合作研发了光生物防晒成分,实现三重技术突破,精准锚定全场景抗光损防护需求。
同样,理肤泉也对旗下运动防晒系列进行不同技术更新,针对性解决户外运动人群防晒易脱妆、防护力不足等痛点,进一步巩固其在细分领域的专业形象。

图片来源:聚美丽
而除了搭载新技术推出防晒产品外,还有不少品牌选择在原先的产品上进行“版本升级”。
聚焦到国际美妆巨头来看,表现尤为活跃。从雅诗兰黛到宝洁、资生堂等集团,旗下均有焕新升级的防晒新品面世。其中,日妆作为防晒市场的主力军之一,持续推新,价格带从大众价位到中高端,涵盖范围较为广泛。

图片来源:聚美丽
其代表性的资生堂旗下安耐晒,已拓展至男性防晒护理赛道,以及定位为高端护肤产品系列的时光琉璃,也在五年后迎来防晒新品。
尤为值得关注的是,资生堂将最新的成膜技术应用于新升级的艳阳夏系列。该系列旗下共5款产品,价格在400元左右,属中高端定位。其中该系列的防晒霜,在国内有一个更为大众熟知的名字——“蓝胖子”,这款产品在社媒上长期保持着较高的讨论热度。
此外,雅诗兰黛旗下高端品牌海蓝之谜,也于2026年1月上新抗氧软壳防晒乳,以990元的定价适配其品牌定位,瞄准预算充足、追求高品质奢护体验的消费群体。
将视线聚焦到国内来看,2025年至今国货防晒赛道迎来爆发式增长。众多国货品牌抢推各类防晒产品,其中以防晒乳居多,且定价围绕在相似的价格带,聚焦不同功效,形成“同质化定价、差异化突围”的市场竞争格局。
如凭借光甘草定这一美白成分出圈的谷雨,在2025年通过光感美白日间防护精华乳切入,且加入了独家自研成分,将防晒与美白相结合,持防晒美白双特证。

而在一众国货头部品牌中,同样持续加码防晒赛道。珀莱雅在去年2月官宣刘亦菲担任品牌防晒全球代言人,并同步推出依托自有发明专利的轻享阳光沁柔防晒精华乳,借助刘亦菲同款进行营销联动。目前该产品,在淘宝页面显示已售10万件以上。
无独有偶,以敏感肌定位的薇诺娜,则推出了清透美白防晒乳,有针对性解决“易敏感”“肤感厚重”这两大问题,并打出“魏大勋同款”这一营销牌,淘宝显示全网热销30万+。
上述种种来看,国货防晒的爆发本质上是“需求适配+品质升级”的结果。多数国货品牌不再局限于单一的防晒功能,而是围绕消费者的核心痛点,在肤感、功效、场景适配性上持续创新,同时通过精准的代言人绑定、场景化营销,触达核心消费群体。
提前打响反季营销
除了新产品的涌现,营销作为连接产品与消费者的核心桥梁,更是防晒市场竞争激烈程度的直观体现。正如上文所提到的绑定代言人,这一趋势在2026年也得到延续。
虽然仅过2个多月,但各品牌对于防晒产品的营销却层出不穷,从这一方面来看,2026年的防晒大战似乎也已提前开始。
如美康粉黛、美肤宝等,均在开年官宣防晒品类的品牌大使、代言人等。而这看似反季的营销,实则一方面可以借势即将到来的春节,提前进行预热,抢占消费者心智,进行一波大促。另一方面则是结合雪山、滑雪等适配场景,满足当下冬季热门的户外运动防晒需求,同时也可避免夏季防晒主题同质化营销的考量。

图片来源:微博截图、小红书截图
而这波借助流量明星的宣传在销售端也小有成效。相关数据显示,美肤宝官宣侯明昊成为品牌首位全球防晒代言人当天,全网总曝光达3.5亿次,24小时明星同款防晒销售突破500万,并同步登顶天猫、抖音、微博三大平台TOP1。
美康粉黛的防晒产品同样吃到一波代言人红利,在官宣郝熠然成为品牌大使的一小时内,全平台礼盒全部售罄,24小时内实现全渠道销售额超1700万,创下天猫防晒类目多个TOP1记录。
可以说,2026年防晒品类的反季营销提前打响,一方面是市场竞争升级的必然结果,另一方面也是品牌精准对接消费场景、突破季节局限的战略选择。
就如上述品牌的案例也充分证明,反季营销并非“反其道而行之”,而是精准洞察需求与匹配场景的理性布局,这场提前开启的防晒大战,也预示着2026年防晒市场的竞争将更加激烈。
多种防晒原料被禁

图片来源:食品药品监管总局

这也意味着,随着可用防晒成分的缩减,无形中加大了企业的创新难度。如何在有限的合规成分范围内进行创新,成为企业需要突破和克服的关键课题,这也是当前防晒市场技术竞争加剧的重要原因之一。
93批次产品被通告
尽管防晒市场持续升温、品类迭代加速,呈现一片正向增长的景象,但是其背后的产品安全隐患与合规失守问题也待完善。
事实上,防晒市场的竞争远不止在销售端的营销博弈与产品端的功效比拼,合规作为产品的核心底线更为重要。为此,国家药监局及各地市场监管机构持续加强监管,通过定期抽查和爆光不符合规定的产品,督促企业严守质量底线。
据聚美丽此前统计梳理,在2025全年国家药监局的所有通告当中,防晒类产品达55批次不合规,数量位居第二大品类,仅次于面膜类产品。

而进入2026年,这一态势并未得到有效缓解,药监局最新发布的两次通告中,又新增不合格防晒产品38批次,已超2025年全年总数的一半。截至目前,2025年至今防晒类产品不合格总批数已达93批次,由此可见,防晒产品不合规情况仍较为严重。
而这些不合格产品的问题主要集中在两方面:成分浓度不符合规定和成分比对不一致。
值得关注的是,不合规产品并非仅集中在中小企业生产的声量较小的品牌中,就连拥有一定市场知名度的温碧泉,也因成分比对不一致而上榜,其背后体现了防晒行业合规意识仍有待加强。

图片来源:聚美丽
更重要的是,在多次通告中特别提及的涉嫌假冒产品中,防晒成“制假重灾区”,尤其是在中国有极高用户基础和知名度的资生堂旗下品牌,共有18批次的产品在检查过程中被假冒,其中安热沙金灿倍护防晒乳出现频率最高。
这类假冒防晒产品的泛滥,不仅扰乱了正常的市场竞争秩序,更严重损害消费者信任,阻碍行业健康可持续发展。

图片来源:国家药监局通告
未来,随着消费者防晒认知的不断成熟,对肤感、功效、安全性的要求将愈发严苛,防晒市场的竞争将彻底告别“单一功效比拼”与“同质化营销”的浅层竞争,将进入创新与合规并重的新阶段。
而品牌想要在白热化的竞争中站稳脚跟,既要坚守合规底线,严控产品质量,也需要精准洞察消费需求与产品创新。
归根结底,防晒市场想要更长久的发展,需要以合规为根基、创新为内核,以真实消费者需求为导向,唯有这样才能摘掉“流量洗脑”的标签,真正实现“现实所需”的跨越。
文中汇率换算:1美元≈6.9513元人民币
信息来源:国家药监局、晨安睡不醒公众号、淘宝、天猫、小红书、美丽修行等
本文转载自聚美丽(ID:jumeili-cn),已获授权,版权归聚美丽所有,未经许可不得翻译或转载。
由第一财经、第一财经商业数据中心(CBNData)联合发布的《开物·2025中国消费品牌智能创新白皮书》,现已现货发售!在喧嚣的技术浪潮之中,什么是真正可落地的智能创新?AI应该从哪里切入企业核心能力?品牌如何在不确定的环境中,构建可持续的长期竞争力?这份超13万字的深度洞察,覆盖了万级智能消费相关人群样本,携手数十位行业专家,对3000+消费品牌企业进行了系统拆解,帮助中国消费品牌在智能时代明确坐标、重构能力,实现从“开物”到“成务”的价值跃迁!
点击此处或下方图片即可购买,包邮到家!

好文章,点个赞
版权提示
转载第一财经商业数据中心原创稿件,请于文首标明来源、作者,并保持文章完整性。非第一财经商业数据中心原创稿件,未经许可,任何人不得复制、转载、或以其他方式使用。如需转载或以其他方式使用稿件内容,请联系CBNData客服DD-4(微信ID:CBNDataDD4)